PATENTES

Patents

Device and methods for dental implant testing 

Patent: P201830801

Mechanical test bench for dental implant fatigue and screw-loosening, which allows multiple specimens to be tested simultaneously, in a simple, compact and economical way compared to direct tension machines.

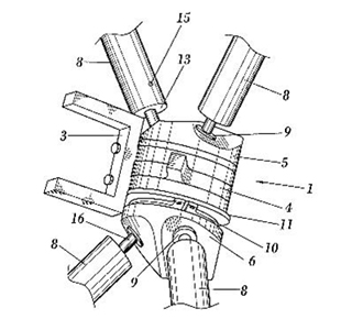
Bar union joint for mechanical systems

Patent: P200402628

A central cylinder is joined with two additional cylinders, where two actuators are joined. 

Sampling system of cutting forces in machining processes of complex geometry parts

Patent: P200301827

Monitoring system of a machining process, based on the capture and monitoring of the cutting forces applied on a piece during its machining process and simultaneously, of the positions of the tool on the piece during the application of those cutting forces.

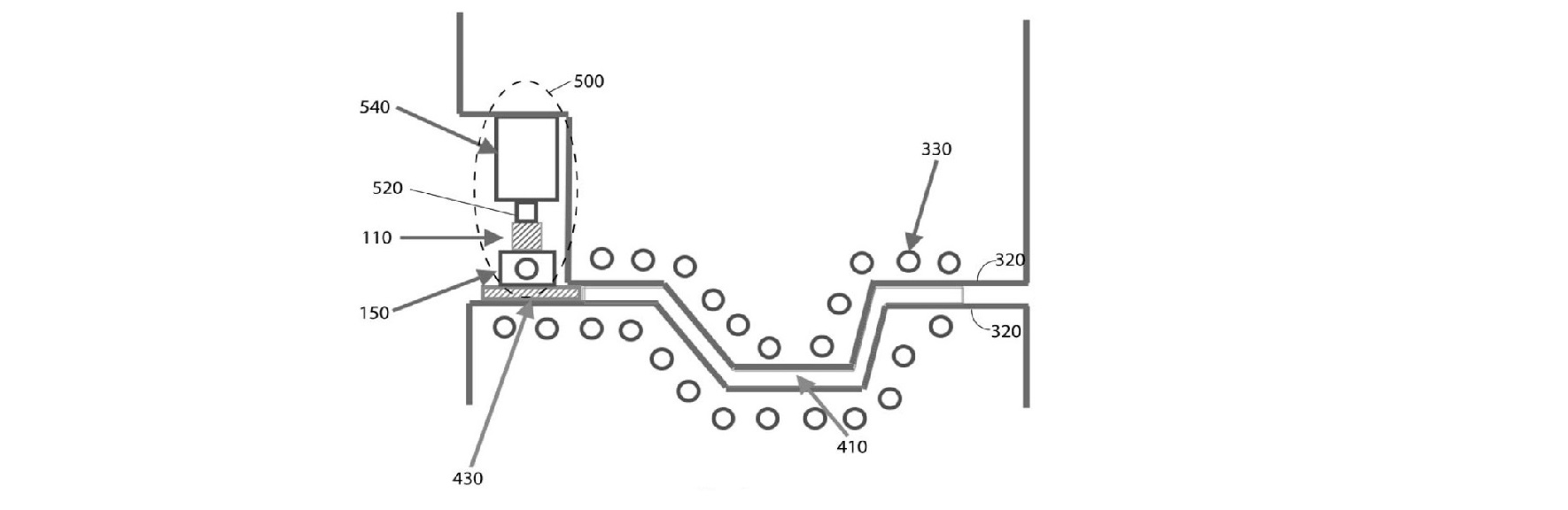
System and method of quenching monitoring during steel hot stamping

Patent: EP18382312

Adapted force detection device and its application method for real-time detection of the completion of the martensitic transformation of steels in hot stamping under specific conditions.